Home| FAQ Search:Advanced|Person|Company| Type|Class Login
Quick search:
Patent number:
Patent Date:
first    back  next  last
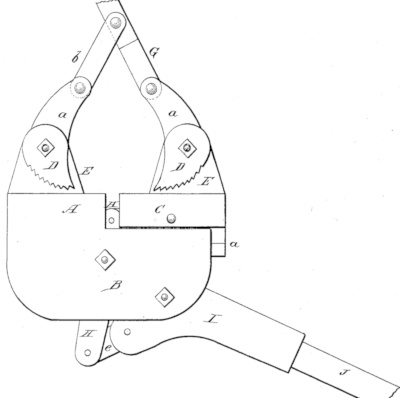
US Patent: 169,265
Improvement in tire-upsetting machines
Patentee:
William Holdsworth (exact or similar names) - Chester, PA

USPTO Classifications:
269/153, 269/217

Tool Categories:
specialty machines : metal tire apparatus : tire shrinkers
specialty tools : metal tire repair tools : tire shrinkers

Assignees:
None

Manufacturer:
Not known to have been produced

Witnesses:
W. C. McArthur
C. L. Evert

Patent Dates:
Applied: Sep. 16, 1875
Granted: Oct. 26, 1875

Patent Pictures:
USPTO (New site tip)
Google Patents
Report data errors or omissions to steward Jeff Joslin
Description:
See patent 221,066 for a subsequent improvement.

Copyright © 2002-2026 - DATAMP