Home| FAQ Search:Advanced|Person|Company| Type|Class Login
Quick search:
Patent number:
Patent Date:
first    back  next  last
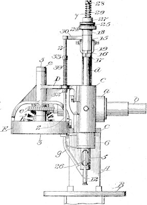
US Patent: 950,534
Screw-driving machine
Patentee:
Wilson P. Hunt (exact or similar names) - Moline, IL

USPTO Classifications:
470/164, 470/48, 81/433, 81/435

Tool Categories:
specialty machines : assembling machines : screw driving machines

Assignees:
G. D Reynolds & Co. - Rock Island, IL

Manufacturer:
Reynolds Machine Co. - Moline, IL

Witnesses:
Unknown

Patent Dates:
Applied: Mar. 30, 1906
Granted: Mar. 01, 1910

Patent Pictures:
USPTO (New site tip)
Google Patents
Report data errors or omissions to steward Jeff Joslin
Vintage Machinery entry for Reynolds Machine Co.

Copyright © 2002-2026 - DATAMP