Home| FAQ Search:Advanced|Person|Company| Type|Class Login
Quick search:
Patent number:
Patent Date:
first    back  next  last
US Patent: 616,658
Rock or Ore Breaker
Patentees:
Albert J. Gates (exact or similar names) - Chicago, Cook County, IL
Philetus W. Gates (exact or similar names) - Chicago, Cook County, IL

USPTO Classifications:
241/285.2

Tool Categories:
specialty machines : ore processing apparatus
stoneworking : stone crushers

Assignees:
Gates Iron Works - Chicago, Cook County, IL

Manufacturer:
Gates Iron Works - Chicago, Cook County, IL

Witnesses:
Henry Woodland
Herman M. Vance
Louis M. F. Whitehead
Thomas B. McGregor

Patent Dates:
Applied: Apr. 03, 1897
Granted: Dec. 27, 1898

Patent Pictures: [ 1 | 2 ]
USPTO (New site tip)
Google Patents
Report data errors or omissions to steward Joel Havens
"Vintage Machinery" entry for Gates Iron Works
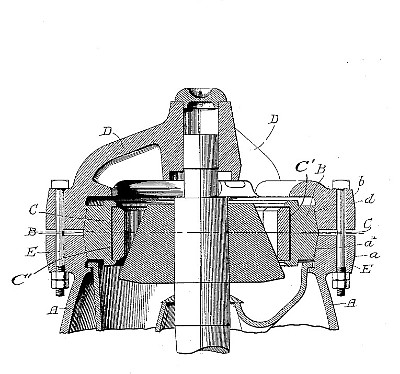
Description:
Abstract:

In the art to which this invention relates it is well known that the frame portion of the crusher consists generally of a lower portion, an upper shell portion that contains and holds the crushing-concaves, and a spider portion, and that the crushing-concaves always wear out at the lower portion thereof, so that when such lower portion is worn the concaves have to be thrown away. Our invention is intended, therefore, to obviate these objections and provide a crushing-frame of practically two parts, in which the shell is positioned by the clamping together of the spider and main frame, and the shell and its crushing-concaves may be inverted, so that its upper and lower portions may be presented as the working surfaces in order to compensate for the wear.

Claim:

In a rock and ore breaker, the combination of a main body or frame portion, an annular frame or shell removably and reversibly secured in the main body portion, and crushing-concaves removably secured in the annular shell.

Copyright © 2002-2026 - DATAMP