Home| FAQ Search:Advanced|Person|Company| Type|Class Login
Quick search:
Patent number:
Patent Date:
first    back  next  last
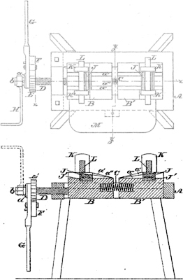
US Patent: 243,380
Machine for shrinking tires
Patentee:
Alfred Kiger (exact or similar names) - Daretown, NJ

USPTO Classifications:
72/302

Tool Categories:
specialty machines : metal tire apparatus : tire shrinkers
specialty tools : metal tire repair tools : tire shrinkers

Assignees:
None

Manufacturer:
Not known to have been produced

Witnesses:
W. R. Casperson
J. M. Lippincott

Patent Dates:
Applied: Mar. 26, 1881
Granted: Jun. 28, 1881

Patent Pictures:
USPTO (New site tip)
Google Patents
Report data errors or omissions to steward Jeff Joslin

Copyright © 2002-2026 - DATAMP