Home| FAQ Search:Advanced|Person|Company| Type|Class Login
Quick search:
Patent number:
Patent Date:
first    back  next  last
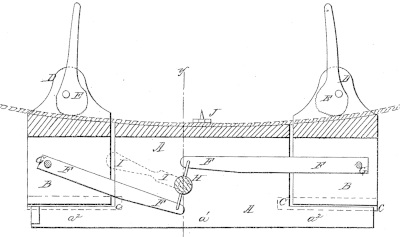
US Patent: 63,523
Improved machine for shrinking tire
Patentee:
Caleb Jackson (exact or similar names) - York, IL

USPTO Classifications:
72/296

Tool Categories:
specialty machines : metal tire apparatus : tire setters
specialty tools : metal tire repair tools : tire setters

Assignees:
None

Manufacturer:
Not known to have been produced

Witnesses:
I. R. Miller
William B. Hodgge

Patent Dates:
Granted: Apr. 02, 1867

Patent Pictures:
USPTO (New site tip)
Google Patents
Report data errors or omissions to steward Jeff Joslin

Copyright © 2002-2026 - DATAMP