Home| FAQ Search:Advanced|Person|Company| Type|Class Login
Quick search:
Patent number:
Patent Date:
first    back  next  last
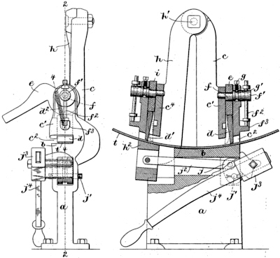
US Patent: 554,484
Machine for upsetting wheel-tires
Patentee:
Leonard F. Fairbanks (exact or similar names) - Hopkinton, MA

USPTO Classifications:
72/303

Tool Categories:
specialty machines : metal tire apparatus : tire shrinkers
specialty tools : metal tire repair tools : tire shrinkers

Assignees:
None

Manufacturer:
Not known to have been produced

Witnesses:
Joseph J. Whitney
George W. Terrell

Patent Dates:
Applied: Jun. 15, 1895
Granted: Feb. 11, 1896

Patent Pictures:
USPTO (New site tip)
Google Patents
Report data errors or omissions to steward Jeff Joslin

Copyright © 2002-2025 - DATAMP