Home| FAQ Search:Advanced|Person|Company| Type|Class Login
Quick search:
Patent number:
Patent Date:
first    back  next  last
US Patent: 5,492,441
Clamping Device for Connecting Machine Spindles With Tool Holders
Patentee:
Horst Schürfeld (exact or similar names) - Bielefeld, North Rhine-Westphalia, Germany

USPTO Classifications:
408/239R, 409/234, 82/160

Tool Categories:
metalworking machines : metalworking machine mechanisms : tool changers and storage mechanisms

Assignees:
Gildemeister-Devlieg System-Werkzege, GmbH - Bielefeld, Ostwestfalen-Lippe Region, North Rhine-Westphalia, Germany

Manufacturer:
Not known to have been produced

Witnesses:
none listed

Patent Dates:
Applied: Mar. 03, 1995
Granted: Feb. 20, 1996

Patent Pictures: [ 1 | 2 | 3 | 4 | 5 | 6 ]
USPTO (New site tip)
Google Patents
Report data errors or omissions to steward Joel Havens
"Vintage Machinery" entry for Gildemeister
Description:
Abstract:

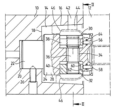
A clamping device for connecting machine spindles or basic holders with tool holders or tools for machining comprises two partible damping elements (38,40;138,140) which are radially displaceable mounted in a holder (24;124) anchored in the machine spindle (10,110) or the basic holder and in the parted position engage behind an encircling clamping shoulder inside the tool holder (12;112). The clamping elements (38,40;138,140) extend crosswise to the longitudinal direction of the tool holder (12;112) and, at their lateral outer ends, have clamping surfaces (48,50,52,54;148,150,152,154) disposed such that all four clamping surfaces of the two clamping elements (38,40;138,140) are each distributed over the periphery of the clamping shoulder at angular distances of approximately 90.degree.

Copyright © 2002-2025 - DATAMP