Datamp.org Patents https://www.datamp.org/ Recently added patents en-us US Patent: 7,254X https://www.datamp.org/patents/displayPatent.php?id=13954&pn=7,254X Wrench Patentee: Henry King - Springfield MA Granted:1832-10-25
Manufactured by Homer Foot - Springfield MA

Considered the first U.S. adjustable wrench patent. A slide adjust nut wrench with the adjustment held by a spring-loaded "click" engaging teeth in a rack on the shank. A summary of the patent appeared in the April, 1833 Journal of the Franklin Institute. According to Ken Cope's "American Wrench Makers 1830-1930", King lived at Springfield, Massachusetts and the wrench was manufactured there by King or by Bemis & Call. Details of construction of the movable jaw and lever vary in surviving examples. One known example marked H. FOOT; another "H. FOOT & Co. / SPRINGFIELD MASS / PATE.. "; another marked only PATENTED.
This is one of 84,861 patents currently in the database at datamp.org

]]>
US Patent: 7,245X https://www.datamp.org/patents/displayPatent.php?id=34834&pn=7,245X Cutting pliers Patentee: Russel Curtis - Springfield MA Granted:1832-10-25

"summary" from Journal of the Franklin Institute (1833). Most of the patents prior to 1836 were lost in the Dec. 1836 fire. Only about 2,000 of the almost 10,000 documents were recovered. Little is known about this patent. There are no patent drawings available. This patent is in the database for reference only.
This is one of 84,861 patents currently in the database at datamp.org

]]>
US Patent: 7,329X https://www.datamp.org/patents/displayPatent.php?id=46727&pn=7,329X Dying with Alkaline Prussiates Patentee: Felix Fossard - Philadelphia PA Granted:1832-12-14
Assigned to Charles Dixey - Philadelphia PA

Most of the patents prior to 1836 were lost in the Dec. 1836 fire. Only about 2,000 of the almost 10,000 documents were recovered. Little is known about this patent. Only the patent drawing is available. This patent is in the database for reference only. "Abstract of a patent for manufacturing the prussiates of potash and of soda, with other substances; and of fixing the elements of the prussiate of iron, as a substitute for indigo. Granted to FELIX FOSSARD, of Philadelphia, (who has made a declaration of his intention to become a citizen of the United States,) December 14, 1832. The title of this patent, as given by the patentee, is, "An improved method, or methods, of manufacturing the prussiates of potash, and of soda; and a new and improved method, or methods, of applying the said prussiates, or other prussiates of potash and of soda, (with other substances or things which will be described,) and composing and fixing the elements of the prussiate of iron, as a substitute for indigo in dyeing wool in the flock, fleece, skeins, piece, or otherwise; also in dyeing silks, cotton, linen, and other textile or organic substances fit for the purpose of receiving colour, of a blue, blue-black, black, bronze, marron, and any other colours for which indigo has hitherto been employed as a groundwork, principal, or auxiliary." Several processes have been devised, and patents obtained, for using the prussiate of iron, [Prussian blue, as a substitute for indigo in the process of dyeing; from these the processes described in the specification of this patent, differ in many essential particulars, which are fully detailed in it, in a manner which manifests a very intimate acquaintance with the principles of chemical science, and with the practical manipulations of the dye-house. The specification extends over twenty-two closely written pages, without containing any thing which is extraneous, but merely those practical directions and exemplifications which leave nothing to be desired by the scientific dyer. The specification gives the following as the "principal articles on which the claims are founded." "1st. On methods and processes for manufacturing the prussiates of potash and of soda. 2nd. On the method of passing wool into an acid bath, before fixing the oxide of iron. 3d. On obtaining or fixing the oxide of iron on all textile substances, by means of the decomposition of the proto-salt of iron, either by caustic alkalis, carbonates, or earthy alkaline caustics. 4th. On fixing the deutoxide of iron on all textile substances, by immersing them in a bath formed of the proto-salt of iron, for example, in the neutral state. 5th. On the means of producing upon textile substances, a uniform oxygenation of the protoxide of iron, or an oxide more oxygenated, by means of a current of heated air blown upon them. 6th. On the use of an alkaline and saponaceous bath after the dyeing operation, before uniting the oxide of iron with the prussic acid of an alkaline prussiate. 7th. On the passing of the textile substances, (more or less dyed by the prussiate of iron,) into a bath of a soluble prussiate, after dyeing them. 8th. On the passing of the textile substances, more or less dyed by the prussiate of iron, either in a bath of proto-salt of iron, or a persalt of iron, either the one or the other, or at once into a compound of these salts. 9th. On the means of giving to textile substances dyed with the prussiate of iron, a reddish blue colour peculiar to this salt, when combined with a substance affording a red dye. 10th. On the means of fixing the prussiate of iron, or copper, upon the textile substances, by way of double decomposition, by means of a bath composed of a soluble prussiate, and another composed of a proto-salt of iron, or a salt of copper. 11th. On the means of producing green dyes on textile substances by the prussiate of iron, and a vegetable or mineral substance giving a yellow dye. 12th. On the use of boracic acid in the bath, which gives a peculiar red to the blue, and to those which afford a yellow dye, and more particularly to the vegetable colouring materials, in order to obtain green or black dyes by the prussiate of iron, or of copper. 13th. On the means of producing blacks, &c. on textile substances, and on fixing on them the oxides of iron, and of copper, before passing them into vegetable, the colouring, or other baths, and without putting metallic salts into these baths. 14th. On the employment of baths for increasing or diminishing the intensity of colour. 15th. On the means of preventing the change of colour on the dyed fabrics, when exposed to the action of steam or air. 16th. On the general employment of the constituents forming the prussiate of iron, instead of the solid compound so termed, as I do not actually employ the prussiate of iron known in commerce, but manufacture its principal constituent parts, and bring them into union upon the surface of the cloth, or other textile substance intended to be dyed. 17th. On the principles, the characters, the effects, and consequent results, of the preceding articles, applied to the works of a dyehouse." "Many of the things described in the various processes, are not, strictly speaking, my invention; but I claim the practical and special application to which I adapt them, in the processes of manufacturing the prussiates of potash and of soda, and of dyeing by these and other substances, by the methods indicated." It is the design of the patentee, we believe, to obtain another patent for apparatus invented by him for the purpose of facilitating some of the operations in his processes; when this is done, we may find it necessary to present those processes, with drawings of the machinery adapted to them. To give them now would, in the opinion of most of our readers, render the present notice unacceptably long. In order to exhibit the experience of the patentee as regards the utility of his modes of procedure, we give the following extract of a letter from him, which must appear of the greater value, as it was written merely for the satisfaction of the editor, and without any view to publication. "The advantages offered by my processes over those now in use, are as follows. In the manufacture of the prussiates, there is an easier and much more profitable result in the labour, as for example: by the inethods now in use, only about eighty pounds can be produced daily; whereas, by my method, six or seven hundred pounds can be prepared in the same time; by my method, too, all the materials are converted into prussiates, whilst by those now in use, the residuums of the calcinations are generally thrown away, by which a great quantity of potash is lost. "The difference existing in price between the two principal materials used in dyeing wool, prussiates of potash and indigo, is immense; and must always exist in favour of the prussiate, as indigo cannot be produced to compete with it, without ruin to the planter; the prussiates, on the contrary, will, if a more general and certain means for their employment is created, descend to a very low price, the articles used in their production being extremely cheap; these materials are potash and those kinds of refuse animal matter which, when not so employed, are actually thrown away. In dyeing by my process, the prussiate is substituted for indigo, nearly pound for pound. The method of dyeing by indigo does not admit of operating upon more than about sixty pounds of wool at one time, whilst by my process I can dye ten times that quantity, with the utmost facility. "The cloths dyed by indigo, when cut, always appear of a light tint in the middle of the thread; whilst those dyed with the prussiates, by my process, are as dark within as on the surface. "The fastness of the colour produced by the prussiate of iron, is manifest upon an examination of the two samples herewith sent; the largest is as it came from the fulling mill; the smallest is part of the elbow of an old coat." The sample last mentioned was worn completely threadbare, but the intensity and uniformity of the colour did not appear to be in the slightest degree impaired, exhibiting none of that mixture of blue and white seen on the seams, and worn parts of indigo dyed cloths. Mr. Fossard, we learn, has assigned his patent to Capt. Charles Dixey, of Philadelphia." Journal of the Franklin Institute, Jul., 1833, pgs. 184-185
This is one of 84,861 patents currently in the database at datamp.org

]]>
US Patent: 7,363X https://www.datamp.org/patents/displayPatent.php?id=34935&pn=7,363X Loom Temple Patentee: Peter Newell - Waterford, Saratoga County NY Granted:1833-01-05

Most of the patents prior to 1836 were lost in the Dec. 1836 fire. Only about 2,000 of the almost 10,000 documents were recovered. Little is known about this patent. Only the patent drawing is available. This patent is in the database for reference only. "For an improvement in the Temple used in Weaving Cloth; Peter Newel, Waterford, Saratoga County, New York, January 5. The claim in this patent is to "the yielding motion of the jaws in the frame at every revolution of the lathe of the loom, which prevents the selvage threads from breaking. Also the motion of the bolt which raises the joint arm, and gives the receding motion to the jaws, and thereby prevents any injury to the reed." The specification, with the aid of the drawing, would undoubtedly suffice to render the invention intelligible had there been "written references" to the latter, agreeably to the absolute demands of the patent law; as it is, the construction and operation of the thing are far from being plain; this difficulty would most probably be removed by an examination of the model, which is, unfortunately, too frequently relied upon, as though it made a part of the patent." Journal of the Franklin Institute, Jul., 1833, pgs. 18-19
This is one of 84,861 patents currently in the database at datamp.org

]]>
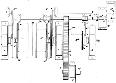
US Patent: 96 https://www.datamp.org/patents/displayPatent.php?id=85561&pn=96 Temple for Weaving Cloth Patentee: Peter Newell - Waterford, Saratoga County NY Granted:1836-12-02

Abstract: The Frame A, of the said machine is made of iron or any metallic or other suitable substance constructed with two guides B, B, about four inches long and about three fourths of an inch in width having a space C, between them of sufficient width to receive the jaws D, di, of the temple, hereafter described. The guides B, B, are connected with and rest upon, a support A, of the same substance at right angles to the guides and usually in one piece with it, which support is fastened to the looms by a bolt or otherwise. Claim: The use of sliding jaws which hold the selvage, when made upon the principle and operating in the manner, of those marked D, d, in the accompanying drawing.
This is one of 84,861 patents currently in the database at datamp.org

]]>