Home| FAQ Search:Advanced|Person|Company| Type|Class Login
Quick search:
Patent number:
Patent Date:
first    back  next  last
US Patent: 575,588
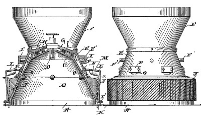
Feed Grinder
Patentee:
David W. Bovee (exact or similar names) - Waterloo, Blackhawk County, IA

USPTO Classifications:
241/146, 241/162

Tool Categories:
agricultural : grinding mills

Assignees:
None

Manufacturer:
Iowa Grinder & Steamer Works - Waterloo, Blackhawk County, IA

Witnesses:
W. A. Hallowell
M. F. Derrick
George E. Fuch
James W. Bevans

Patent Dates:
Applied: Mar. 03, 1896
Granted: Jan. 19, 1897

Patent Pictures: [ 1 | 2 | 3 ]
USPTO (New site tip)
Google Patents
Report data errors or omissions to steward Joel Havens
Description:
Also, see patent #587,177.

Abstract:

This invention pertains to grinding-mills and the object of the same is to provide a mill of simple and improved construction for more effectually grinding corn and other grain.

Claim:

In a grinding-mill, the combination of the inner cone-shaped grinder, a rotatable shell, a grinder movable therewith and depending adjacent to the cone-shaped grinder, and the vertically-adj astable grinding-wall arranged adjacent to and inclosing the movable grinder.

Copyright © 2002-2026 - DATAMP