Home| FAQ Search:Advanced|Person|Company| Type|Class Login
Quick search:
Patent number:
Patent Date:
first    back  next  last
US Patent: 2,741,847
Micrometer Gauge Having Means to Prevent Lost Motion
Patentee:
Albert G. Hagstrom (exact or similar names) - Newington, Hartford County, CT

USPTO Classifications:
33/816

Tool Categories:
metalworking tools : machinist tools : measuring tools : micrometers

Assignees:
None

Manufacturer:
L. S. Starrett Co. - Athol, Worcester County, MA

Witnesses:
none listed

Patent Dates:
Applied: Oct. 15, 1954
Granted: Apr. 17, 1956

Patent Pictures: [ 1 | 2 ]
USPTO (New site tip)
Google Patents
Report data errors or omissions to steward Joel Havens
"Vintage Machinery" entry for L. S. Starrett Co.
Description:
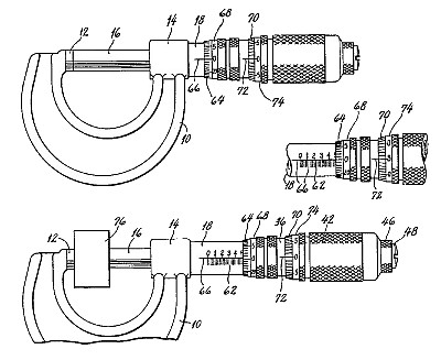
This patent was used on the No. 221 Starrett micrometer.

This patent was an improvement on patent #2,267,332.

Abstract:

The general object of the invention is to provide a micrometer gauge of the type stated having means for preventing lost motion at the motion multiplying lever, either in the gauge as first manufactured or after long use and possible wear of parts.

Claim:

In a micrometer gauge having a rotatable spindle and having first and second concentric sleeves partly surrounding the spindle and rotatable relatively thereto which second sleeve partly surrounds the first sleeve and has an outer end wall, a flange on the outer end of the first sleeve and provided with a notch and with a yieldable resilient portion at one edge of said notch, a transversely extending lever pivoted near one end to the spindle for movement about a longitudinal axis and serving to transmit rotation to a Limited extent from the second sleeve to the first sleeve :with the second sleeve rotating at a greater rate, said lever including a finger at the last said end thereof entered in the notch in said flange and having a width slightly greater than the initial width of the notch so that the resilient flange portion always applies pressure to the finger to prevent lost motion at type finger during pivotal movement of the lever and during relative rotation of the sleeves and said lever also including resilient bifurcations which define a lengthwise slot therein near the opposite end thereof, and a longitudinal pin on the end wall of the second sleeve entered in the slot in the lever and having a diameter slightly greater than the initial width of the slot so that the said resilient bifurcations always apply pressure to the pin to prevent lost motion at the pin during pivotal movement of the lever and during relative rotation of the sleeves.

Copyright © 2002-2026 - DATAMP