Home| FAQ Search:Advanced|Person|Company| Type|Class Login
Quick search:
Patent number:
Patent Date:
first    back  next  last
US Patent: 2,799,092
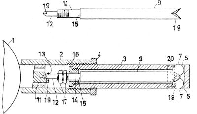
Instrument for measuring holes
Patentee:
Hugo Abramson (exact or similar names) - Eskilstuna, Södermanland County, Sweden

USPTO Classifications:
33/542, 33/544

Tool Categories:
metalworking tools : machinist tools : measuring tools : bore gages

Assignees:
C. E. Johansson, AB - Eskilstuna, Södermanland County, Sweden

Manufacturer:
C. E. Johansson, AB - Eskilstuna, Södermanland County, Sweden

Witnesses:
Unknown

Patent Dates:
Applied: Jun. 13, 1955
Granted: Jul. 16, 1957

Patent Pictures:
USPTO (New site tip)
Google Patents
Report data errors or omissions to steward Jeff Joslin
Vintage Machinery entry for AB C. E. Johansson

Copyright © 2002-2026 - DATAMP