Home| FAQ Search:Advanced|Person|Company| Type|Class Login
Quick search:
Patent number:
Patent Date:
first    back  next  last
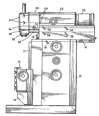
US Patent: 3,338,135
Milling Machine
Patentee:
Johann Müller (exact or similar names) - Munich, Munich District, Bavaria, Germany

USPTO Classifications:
409/235

Tool Categories:
metalworking machines : milling machines

Assignees:
Friedrich Deckel Praezisions Mechanik und Maschinenbau - Munich, Munich District, Bavaria, Germany

Manufacturer:
Friedrich Deckel Praezisions Mechanik und Maschinenbau - Munich, Munich District, Bavaria, Germany

Witnesses:
none listed

Patent Dates:
Applied: Nov. 08, 1965
Granted: Aug. 29, 1967

Patent Pictures: [ 1 | 2 | 3 ]
USPTO (New site tip)
Google Patents
Report data errors or omissions to steward Joel Havens
"Vintage Machinery" entry for Friedrich Deckel GmbH
Description:
Claims priority, application in Germany, Nov. 12, 1964.

Abstract:

An object of the invention is the provision of a generally improved and more satisfactory milling machine of the type having both a horizontal spindle and a vertical spindle.

Another object is the provision of such a milling machine having a simple and effective bracing means for holding the spindle head more securely and which, in so doing, enables the spindle stock of the horizontal spindle to be made higher and therefore more rigid than is the case when there is no such bracing means for the vertical spindle. Still another object is the provision of a milling machine having simple and effective bracing means for bracing the lower end of the spindle head of a vertical spindle, thereby holding the lower end of such spindle head rigidly notwithstanding the fact that such spindle head may project downwardly a considerable distance from the spindle stock of the vertical spindle, thereby insuring that the extent of downward projection of the spindle head is no longer a limiting factor in the design of the milling machine.

Claim:

A milling machine comprising means forming a support for a horizontal spindle, a vertical spindle stock mounted on and displaceable horizontally on said support for said horizontal spindle, and a vertical spindle head mounted on said vertical spindle stock, characterized by the fact that said support for said horizontal spindle has means for holding two brace members in positions projecting horizontally from said support at an elevation about that of said horizontal spindle, and by the fact that said spindle head extends downwardly into the region of said brace members and has means for connecting with said brace members so that said 'brace members help to stabilize said spindle head.

Copyright © 2002-2025 - DATAMP