US Patent: 3,295,415
|
| Machine Tool With Two Alternately Usable Spindles
|
|
Patentee:
|
|
| Johann Müller (exact or similar names) - Munich, Munich District, Bavaria, Germany |
|
|
Patent Dates:
|
| Granted: |
Jan. 03, 1967 |
|
Patent Pictures:
[
1 | 2 | 3 | 4 | 5 | 6 | 7
]
|
|
|
USPTO (New site tip) Google Patents
Report data errors or omissions to steward
Joel Havens "Vintage Machinery" entry for Friedrich Deckel GmbH
|
|
Description: |
| Claims priority application in Germany, Oct. 28, 1964.
Abstract:
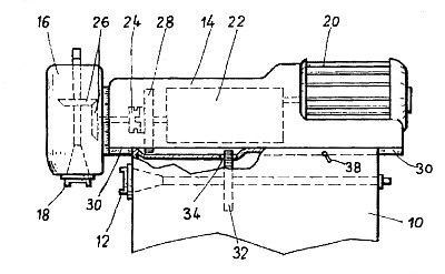
Machine tools of this general description, which provide two alternately usable spindles where one of the spindles is mounted in a spindle block or housing which is displaceable on the support or housing of the other spindle, are known in the art and such a machine is disclosed in Patent 3,117,493 for Machine Tool, issued to K. Zwick et al., on Jan. 14, 1964, and owned by the assignee of the present application. In such a machine tool, such as a milling machine with two horizontal spindles (drilling and milling spindles) or with one horizontal and one vertical spindle, the spindle housing is designed so that it can be pushed from a working position, of the spindle carried thereby, into a rest or nonuse position and it remains in the latter position during the period of working with the second spindle without interfering with the operation of the second spindle. Several designs for the drive of the two alternately usable spindles are known in the prior art with the previously mentioned patent showing the use of only one driving motor and one main drive transmission for both spindles jointly. With this arrangement the motor and transmission are housed in the machine main frame or stand and are disposed to first drive the main spindle. From the motor the drive is transmitted through gears mounted in the machine frame to gears mounted in the spindle housing which are connected with the spindle mounted therein. In order that the spindle housing may be displaced relative to the drive connection in the machine frame, at least one of the gears must be designed as a relatively long toothed cylinder and either the machine frame or the spindle housing must have a correspondingly long aperture therein for the cylinder, and this is bad for the stability of the machine parts since the aperture tends to weaken the framework.
Claim:
In a machine tool with two alternately usable spindles, a support member, a spindle housing displaceably mounted on said support member, a first spindle means mounted for rotation on said spindle housing, a driving motor supported by said spindle housing and connected to rotate said first spindle means, transmission members connected in said spindle housing and connected to said driving motor to be driven thereby, a second spindle means mounted for rotation on said support member, transmission parts connected to said second spindle means, said spindle housing being displaceable on said support member from a working position of said first spindle means to a rest position of said first spindle means in which it remains during use of said second spindle means, and said transmission members connected to move into driving connection with said transmission parts to rotate said second spindle means with said driving motor when said support member is displaced to the rest position. |
|