Home| FAQ Search:Advanced|Person|Company| Type|Class Login
Quick search:
Patent number:
Patent Date:
first    back  next  last
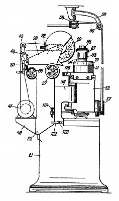
CH Patent: CH-125,534
Verfahren Und Einrichtung Zur Erzeugung Von Nach Zyklischen Kurven Gewölbten Flächen an Werkstücken
Method and Device for Producing Surfaces on Workpieces Curved According to Cyclic Curves
Patentee:
none listed (exact or similar names) - Munich, Munich District, Bavaria, Germany

USPTO Classifications:

Tool Categories:
metalworking machines : grinders : profile and contour grinders

Assignees:
Friedrich Deckel Praezisions Mechanik und Maschinenbau - Munich, Munich District, Bavaria, Germany

Manufacturer:
Not known to have been produced

Witnesses:
Unknown

Patent Dates:
Applied: Dec. 05, 1925
Granted: Apr. 16, 1928

Patent Pictures: [ 1 | 2 | 3 | 4 | 5 | 6 | 7 ]
Espacenet patent
Report data errors or omissions to steward Joel Havens
"Vintage Machinery" entry for Friedrich Deckel GmbH

Copyright © 2002-2026 - DATAMP