Home| FAQ Search:Advanced|Person|Company| Type|Class Login
Quick search:
Patent number:
Patent Date:
first    back  next  last
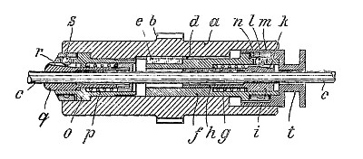
CH Patent: CH-103,479
Clamping and Feeding Device for Material Bars of Uniform Cross-Section to Be Processed
Spann- Und Vorschubvorrichtung Für Zu Verarbeitende Materialstangen Von Gleichmässigem Querschnitt
Patentee:
none listed (exact or similar names) - Munich, Munich District, Bavaria, Germany

USPTO Classifications:

Tool Categories:
metalworking machines : metalworking machine mechanisms : stock feeding apparatus
metalworking machines : metalworking machine work holding

Assignees:
Friedrich Deckel Praezisions Mechanik und Maschinenbau - Munich, Germany

Manufacturer:
Not known to have been produced

Witnesses:
none listed

Patent Dates:
Applied: Dec. 11, 1922
Granted: Feb. 16, 1924
Antedated: Dec. 17, 1921

Patent Pictures:
Espacenet patent
Report data errors or omissions to steward Joel Havens
"Vintage Machinery" entry for Friedrich Deckel GmbH

Copyright © 2002-2025 - DATAMP