Home| FAQ Search:Advanced|Person|Company| Type|Class Login
Quick search:
Patent number:
Patent Date:
first    back  next  last
US Patent: 3,195,413
Console Milling Machine
Patentee:
Johann Müller (exact or similar names) - Munich, Munich District, Bavaria, Germany

USPTO Classifications:
409/217

Tool Categories:
metalworking machines : milling machines

Assignees:
Hans Deckel - Munich, Munich District, Bavaria, Germany
Friedrich Wilhelm Deckel - Zug, Zug Canton, Switzerland

Manufacturer:
Friedrich Deckel Praezisions Mechanik und Maschinenbau - Munich, Munich District, Bavaria, Germany

Witnesses:
none listed

Patent Dates:
Applied: Dec. 02, 1963
Granted: Jul. 20, 1965

Patent Pictures: [ 1 | 2 | 3 | 4 ]
USPTO (New site tip)
Google Patents
Report data errors or omissions to steward Joel Havens
"Vintage Machinery" entry for Friedrich Deckel GmbH
Description:
Claims priority application in Germany, 21 Dec., 1962.

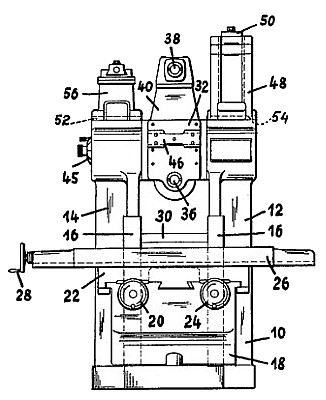
Abstract:

This invention relates broadly to milling machines having console type table carriers and more particularly to a universal milling machine having a plurality of tool spindles. One of the objects of the present invention is to provide a construction of a relatively small console type milling machine which is capable of carrying out heavy milling jobs. Another object of the invention is to provide a construction of milling machine having a console-like table carrier, having improved spindle head stability and increased stability for the guidance of the table in all three coordinate directions. Still another object of the invention is to provide a construction of milling machine having a plurality of tool spindles to permit machining of work pieces of different sizes. A further object of the invention is to provide a construction of milling machine wherein a plurality of tool spindles can be pivoted from one plane to another to provide a universal milling machine for machining work pieces from different directions while maintaining the dimensions of the machine at a minimum. Still a further object of the invention is to provide a construction of milling machine having increased accuracy of the table console guidance and enlargement of the longitudinal and transverse guidance of the table.

Claim:

A milling machine comprising, a machine stand, a chucking table adapted to receive a work piece and movable in three coordinate directions mounted on said machine stand, a swivel axis through said machine stand above said chucking table parallel to the longitudinal movement of said table, a spindle head connected to swivel about said axis, and a pair of parallel tool spindles on said spindle head having axes in a vertical plane parallel to the transverse movement of said table.

Copyright © 2002-2025 - DATAMP