Home| FAQ Search:Advanced|Person|Company| Type|Class Login
Quick search:
Patent number:
Patent Date:
first    back  next  last
US Patent: 2,930,166
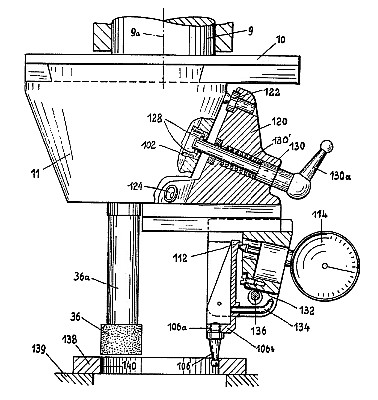
Gauging Device
Patentee:
Johann Müller (exact or similar names) - Munich, Munich District, Bavaria, Germany

USPTO Classifications:
33/833, 451/211, 451/8

Tool Categories:
metalworking tools : machinist tools : measuring tools : dial indicator attachments

Assignees:
Hans Deckel - Munich, Munich District, Bavaria, Germany
Friedrich Wilhelm Deckel - Zug, Zug Canton, Switzerland

Manufacturer:
Not known to have been produced

Witnesses:
none listed

Patent Dates:
Applied: Jan. 28, 1958
Granted: Mar. 29, 1960

Patent Pictures: [ 1 | 2 | 3 ]
USPTO (New site tip)
Google Patents
Report data errors or omissions to steward Joel Havens
Description:
Abstract:

The object of the present invention is the provision of a gauging device, by means of which a workpiece can be tested, for instance, for concentricity, without the tool having to be removed from the holder. The necessity of substituting the gauge for the tool in its holder, which arises when using conventional gauging devices, involves loss of time, besides being responsible for the introduction of errors due to the tool not resuming its former position when it is replaced in the holder. It is proposed by the present invention to provide an arrangement in which even the repeated removal of the gauge will not impair the accuracy of a test, and thus to create a gauging device which will fully satisfy the demands for maximum precision in sizing. The problem is solved in accordance with the present invention by attaching the gauging device to the tool holder outside the socket for the tool by releasable or detachable attaching means, means also being provided for centering the gauging device in a predetermined position in relation to the tool spindle. According to another feature of the present invention, the means for detachable mounting the gauging device comprises a bayonet-type fitting, whereas the centering means is constituted by a three-point bearing. The gauging device may be, for example, a dial gauge for indicating the position of a contact finger.

Claim:

In a machine tool provided with a rotatable tool holder for accommodation therein of a tool spindle provided with a work tool, a detachable gauging device, means for readily positioning said gauging device to said tool holder in a predetermined fixed position relative to said spindle including positioning means on said tool holder and said gauging device, and means for detachably securing said gauging device to said tool holder.

Copyright © 2002-2025 - DATAMP