Home| FAQ Search:Advanced|Person|Company| Type|Class Login
Quick search:
Patent number:
Patent Date:
first    back  next  last
CA Patent: CA-587,207
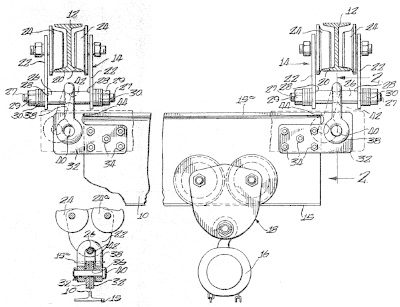
Crane
Patentee:
Walter Eugen Richter (exact or similar names) - Muskegon, MI

USPTO Classifications:

Tool Categories:
construction machines : cranes
material handling : cranes

Assignees:
Manning, Maxwell & Moore, Inc. - Muskegon, MI

Manufacturer:
Manning, Maxwell & Moore, Inc. - Muskegon, MI
Dresser Industries, Inc. - Muskegon, MI

Witnesses:
Unknown

Patent Dates:
Applied: Nov. 02, 1955
Granted: Nov. 17, 1959

Patent Pictures:
CIPO Data
Espacenet patent
Report data errors or omissions to steward Jeff Joslin
Vintage Machinery entry for Manning, Maxwell & Moore, Inc.
Description:
This is the Canadian equivalent of US patent 2,845,877.

Copyright © 2002-2026 - DATAMP