Home| FAQ Search:Advanced|Person|Company| Type|Class Login
Quick search:
Patent number:
Patent Date:
first    back  next  last
US Patent: 1,098,981
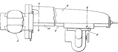
Supporting-arm for radial drills
Patentee:
Willard Thomas Sears (exact or similar names) - Hartford, CT

USPTO Classifications:
408/234

Tool Categories:
metalworking machines : drilling and boring : drill presses : radial drill presses

Assignees:
Pratt & Whitney Co. - Hartford, CT

Manufacturer:
Niles Tool Works Co. - Hamilton, OH

Witnesses:
H. M. Kilbourne
W. M. Storrs

Patent Dates:
Applied: Oct. 12, 1912
Granted: Jun. 02, 1914

Patent Pictures:
USPTO (New site tip)
Google Patents
Report data errors or omissions to steward Jeff Joslin
Vintage Machinery entry for Niles-Bement-Pond Co.
Description:
Patent date seen on a "Right Line" Radial Drill from Niles Tool Works Co., a Division of Niles-Bement-Pond Co. This patent is assigned to Pratt & Whitney Co., which was another division of Niles-Bement-Pond.

Copyright © 2002-2026 - DATAMP