Home| FAQ Search:Advanced|Person|Company| Type|Class Login
Quick search:
Patent number:
Patent Date:
first  previous  back  next  last
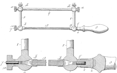
US Patent: 371,438
Hack-saw frame
Patentee:
Leonard L. Davis (exact or similar names) - Springfield, MA

USPTO Classifications:
30/510

Tool Categories:
metalworking tools : hacksaws

Assignees:
None

Manufacturer:
Not known to have been produced

Witnesses:
Unknown

Patent Dates:
Applied: May 02, 1887
Granted: Oct. 11, 1887

Patent Pictures:
USPTO (New site tip)
Google Patents
Report data errors or omissions to steward Jeff Joslin
Description:
Inventor L. L. Davis manufactured saws and planes but we have not found evidence thaat his patent hacksaws were manufactured. See also his patent 492,937.

Copyright © 2002-2026 - DATAMP