Home| FAQ Search:Advanced|Person|Company| Type|Class Login
Quick search:
Patent number:
Patent Date:
first    back  next  last
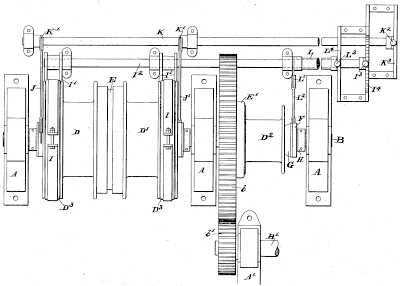
US Patent: 715,991
Derrick swinging and controlling device
Patentees:
Harry N. Covell (exact or similar names) - Brooklyn, NY
Charles A. Baechtold (exact or similar names) - Brooklyn, NY

USPTO Classifications:
254/304, 254/322, 254/330

Tool Categories:
material handling : hoists, winches, come-alongs

Assignees:
Lidgerwood Mfg. Co. - New York, NY

Manufacturer:
Lidgerwood Mfg. Co. - New York, NY

Witnesses:
Charles G. Munier
James E. Dalton

Patent Dates:
Applied: Mar. 28, 1900
Granted: Dec. 16, 1902

Patent Pictures:
USPTO (New site tip)
Google Patents
Report data errors or omissions to steward Jeff Joslin
Vintage Machinery entry for Lidgerwood Mfg. Co.

Copyright © 2002-2026 - DATAMP