Home| FAQ Search:Advanced|Person|Company| Type|Class Login
Quick search:
Patent number:
Patent Date:
first    back  next  last
US Patent: 702,885
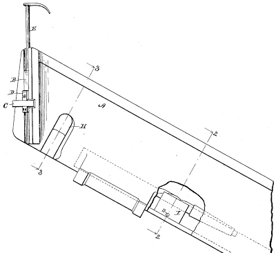
Drill-grinding machine
Patentee:
Corneil Ridderhof (exact or similar names) - Grand Rapids, MI

USPTO Classifications:
451/375

Tool Categories:
metalworking machines : grinders : drill grinders
metalworking machines : grinders : sharpening machines : drill sharpening machines

Assignees:
Wilmarth & Morman Co. - Grand Rapids, MI

Manufacturer:
Wilmarth & Morman Co. - Grand Rapids, MI
Covel Mfg. Co. - Benton Harbor, MI

Witnesses:
William H. Gay
Gus. J. Fennell

Patent Dates:
Applied: Jan. 23, 1902
Granted: Jun. 17, 1902

Patent Pictures:
USPTO (New site tip)
Google Patents
Report data errors or omissions to steward Jeff Joslin
Vintage Machinery entry for Wilmarth & Morman Co.
Description:
Improved drill holder for the drill grinder of patent 643,703.

Copyright © 2002-2026 - DATAMP