Home| FAQ Search:Advanced|Person|Company| Type|Class Login
Quick search:
Patent number:
Patent Date:
first    back  next  last
US Patent: 3,367,612
Adjustable Indicator Holder
Patentee:
Charles A. Usiskin (exact or similar names) - Chicago, Cook County, IL

USPTO Classifications:
248/124.1, 248/276.1, 33/700, 403/120, 403/59

Tool Categories:
metalworking tools : machinist tools : measuring tools : test indicator holders

Assignees:
Enco Mfg. Co. - Chicago, Cook County, IL

Manufacturer:
Enco Mfg. Co. - Chicago, Cook County, IL

Witnesses:
none listed

Patent Dates:
Applied: Jan. 11, 1966
Granted: Feb. 06, 1968

Patent Pictures: [ 1 | 2 ]
USPTO (New site tip)
Google Patents
Report data errors or omissions to steward Joel Havens
"Vintage Machinery" entry for Enco Mfg. Co.
Description:
Abstract:

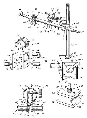
This invention relates generally to an indicator holder, and more particularly to a fine adjust indicator holder, capable of incrementally varying the position of an indicator device mounted thereon. Still more particularly, this invention pertains to a fine adjust indicator holder with a magnetic base. In the past, indicator devices such as, for example, those used by tool makers and operators of milling machines, grinders, etc. to determine surface irregularities were, on the most part, unreliable if any high degree of accuracy was required. This was due primarily to the difficulty in being able to precisely control the movement of the indicator device over a particular segment of a surface, especially a curved surface. Hence, for accurate measurements, the manual manipulation of the positioning of the indicator device by itself or when mounted on a holder was, of course, out of the question. To overcome this inaccuracy problem, various prior indicator holders were devised which included adjustable features. For example, some of these indicator devices comprised an indicator arm whereto an indicator device was attached. The indicator arm was slidably adjustable along a mounting post in order to vary the position of the indicator device. Although an improvement, these adjustable indicator holders did not provide the high degree of control over the mounted indicator device that was required for extremely accurate measurements.

Claim:

An indicator holder for supporting and controlling the movement of an indicator device comprising: a mounting post; an indicator arm having a pair of split apart section: with inner ends, said arm being slidably associated with said post; means for releasably securing one of said sections toa pre-selected point along said mounting post, the other of said sections supporting said indicator device; and a fine adjustment means fixedly associated with ar inner end of each of said sections and having the capability for incrementally varying the position of said section of the indicator arm supporting the indicator device, said fine adjustment means comprising: 30 a pair of plate members, each of said plate members being fixedly connected to said inner enc of one of said sections; a fulcrum associated with each of said plate members to provide a pivot point for the same, said fulcrum being positioned between opposed surfaces of said plate members; resilient means associated with said plate mem-hers and normally biased to position the sector of said arm at the free end thereof into one or two extreme positions; and a fine adjust control for incrementally varying said last-mentioned section between said two extreme positions.

Copyright © 2002-2025 - DATAMP