Home| FAQ Search:Advanced|Person|Company| Type|Class Login
Quick search:
Patent number:
Patent Date:
first    back  next  last
US Patent: 2,234,775
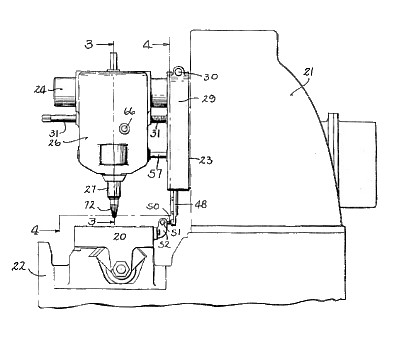
Profile Copying Mechanism
Patentee:
Fred A. Parsons (exact or similar names) - Milwaukee, Milwaukee County, WI

USPTO Classifications:
409/100, 409/94

Tool Categories:
metalworking machines : milling machines : copy milling machines
metalworking machines : profiling machines

Assignees:
Kearney & Trecker Corp. - West Allis, Milwaukee County, WI

Manufacturer:
Not known to have been produced

Witnesses:
none listed

Patent Dates:
Applied: Jul. 18, 1938
Granted: Mar. 11, 1941

Patent Pictures: [ 1 | 2 | 3 | 4 | 5 | 6 ]
USPTO (New site tip)
Google Patents
Report data errors or omissions to steward Joel Havens
"Vintage Machinery" entry for Kearney & Trecker Co.
Description:
Abstract:

This invention relates to machine tools for what is commonly termed copying operations, where a tool is caused to operate on a work piece to effect a contour corresponding to the prey formed contour of a pattern. Such operations have in the past required substantially completely specialized machines. A primary purpose of, this invention is to provide mechanism for copying operations utilizing substantially without change the transmission and control mechanism of general purpose or standard machine tools in a manner permitting a minimum of additional mechanism in a form or convenient removal and replacement, whereby to alternatively convert the machine into a copying machine or a general purpose machine, and particularly for milling machines.

Claim:

In a copying attachment for milling machines having a main frame together with a reciprocable table and a rotatable tool spindle each supported from said main frame for relative bodily movement of said table and spindle, the combination of an attachment frame removably supported from said main frame and in a manner to participate in said relative bodily spindle and table movement, a rotatable supplemental tool spindle and a tracer member each supported from said attachment frame for said relative bodily movement therewith, said supplemental spindle and tracer member being spaced apart in a direction transverse to the supplemental spindle axis, and means under the control of said tracer member for movement of said supplemental spindle and tracer member relative to the attachment frame in substantially mutually parallel paths transverse to the path of reciprocatory movement of said table.

Copyright © 2002-2026 - DATAMP