Home| FAQ Search:Advanced|Person|Company| Type|Class Login
Quick search:
Patent number:
Patent Date:
first    back  next  last
US Patent: 555,442
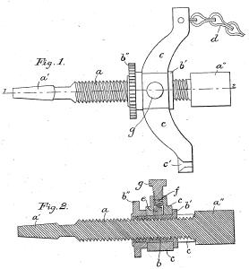
Drilling Apparatus
Chain Drill
Patentee:
Walter L. Fifield (exact or similar names) - Augusta, ME

USPTO Classifications:
408/138, 408/140

Tool Categories:
woodworking tools : hand drills : drill chucks

Assignees:
None

Manufacturer:
Smith & Hemenway Co. - Jamestown, NY

Witnesses:
Ewing W. Hamlen
H. W. True

Patent Dates:
Applied: Sep. 16, 1895
Granted: Feb. 25, 1896

Patent Pictures: [ 1 | 2 ]
Image (C) and courtesy of Sanford Moss, http://www.sydnassloot.com
USPTO (New site tip)
Google Patents
Report data errors or omissions to steward Russ Allen.
Description:
Collar is capable of turning free in the bracket and degree of "frictional hold" is determined by the adjusting screw on the collar. This allows the feed to be regulated to the resistance of the item drilled and prevents too high of a rate of feed.

Sandy Moss reports of his example: I have a chain drill that conforms completely to this patent, but is only marked with the month and day (Feb. 25). The chuck on the drill is marked, "S & H Co RED DEVIL". This is the Smith & Hemenway Co. of Jamestown, NY, the tools of which were marketed by the Crescent Tool Co. in the 1920s. The drill is not listed in the Crescent Tool Co. catalog of 1926, so was probably discontinued by this time. The drill is in new condition in its original slide-top box, with printed instructions. Note that it is equipped with a Barber type brace chuck, with alligator jaws. This differs from the patent drawings and the simple screw fixed chuck of the patent drawings.

Copyright © 2002-2025 - DATAMP