Home| FAQ Search:Advanced|Person|Company| Type|Class Login
Quick search:
Patent number:
Patent Date:
first    back  next  last
US Patent: 2,140,957
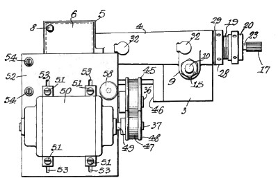
Milling Attachment
Patentee:
Michael Hanna (exact or similar names) - Glen Rogers, Wyoming County, WV

USPTO Classifications:
409/240

Tool Categories:
metalworking machines : milling machines : milling machine accessories

Assignees:
None

Manufacturer:
Alva Allen Industries - Clinton, Henry County, MO

Witnesses:
none listed

Patent Dates:
Applied: Jul. 17, 1937
Granted: Dec. 20, 1938

Patent Pictures: [ 1 | 2 | 3 | 4 | 5 ]
USPTO (New site tip)
Google Patents
Report data errors or omissions to steward Joel Havens
"Vintage Machinery" entry for Alva Allen Industries
Description:
Patented in Canada, patent #CA-387,198.

Abstract:

This invention aims to provide a simple milling attachment, capable of being assembled with a lathe, for the purpose of cutting keyways in shafts, and for many other uses which will suggest themselves readily to a mechanic. The invention aims to provide novel means for assembling the device with a lathe, to provide novel means for mounting and driving the cutter and, generally, to improve and to enhance the utility of devices of that type to which the invention appertains.

Claim:

n a device of the class described, a plate-like base, means for adjusting the base about a fixed vertical axis and for securing the base on the tool carriage of a lathe, an elongated tubular bearing connected integrally throughout its length directly to the base, a gear housing at one end of the base and formed integrally with said end of the base and with one end of the bearing, the housing projecting substantially at right angles to the axis of the bearing, a tool shaft journaled in the bearing, a driven shaft journaled in the housing and disposed parallel to the tool shaft, speed change gearing in the housing and connecting the shafts, a table above the housing, a motor on the table, a driving connection between the motor and the driven shaft and including a belt, a lid for the housing, and means carried by opposite sides of the housing for supporting the table tiltably, thereby to effect a tightening of the belt, said means being spaced to receive the lid therebetween.

Copyright © 2002-2026 - DATAMP