Home| FAQ Search:Advanced|Person|Company| Type|Class Login
Quick search:
Patent number:
Patent Date:
first    back  next  last
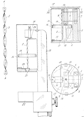
US Patent: 2,033,318
Indicator gear for measuring instruments and the like
Patentee:
Hugo Abramson (exact or similar names) - Lidingo, Sweden

USPTO Classifications:
177/229, 177/234, 267/160, 324/106, 324/154R, 33/803, 73/430, 73/866.1, 74/99R

Tool Categories:
metalworking tools : machinist tools : measuring tools : special measuring tools

Assignees:
None

Manufacturer:
C. E. Johansson, AB - Eskilstuna, Södermanland County, Sweden

Witnesses:
Unknown

Patent Dates:
Applied: Jul. 07, 1931
Granted: Mar. 10, 1936

Patent Pictures:
USPTO (New site tip)
Google Patents
Report data errors or omissions to steward Jeff Joslin
Vintage Machinery entry for AB C. E. Johansson
Description:
This patent is the genesis of the Mikrokator. For more on this high-precision measuring device see our notes on a subsequent improvement, patent 2,900,732.

Copyright © 2002-2026 - DATAMP