Home| FAQ Search:Advanced|Person|Company| Type|Class Login
Quick search:
Patent number:
Patent Date:
first    back  next  last
GB Patent: GB-591,501
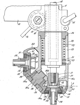
Turret-spindle metal cutting machines
Turret attachment for drilling machine
Patentee:
David William Grimes (exact or similar names) - New York, NY

USPTO Classifications:

Tool Categories:
metalworking machines : drilling and boring : drill presses : drill press accessories

Assignees:
Richard Beckett Fant - Jersey City, Hudson County, NJ

Manufacturer:
Howe & Fant, Inc. - East Norwalk, CT

Witnesses:
Unknown

Patent Dates:
Applied: Dec. 28, 1944
Granted: Aug. 20, 1947

Patent Pictures:
Espacenet patent
Report data errors or omissions to steward Joel Havens
Vintage Machinery entry for Brown & Sharpe Mfg. Co.
Description:
This is the British equivalent of US patent 2,364,631.

Copyright © 2002-2026 - DATAMP