Home| FAQ Search:Advanced|Person|Company| Type|Class Login
Quick search:
Patent number:
Patent Date:
first    back  next  last
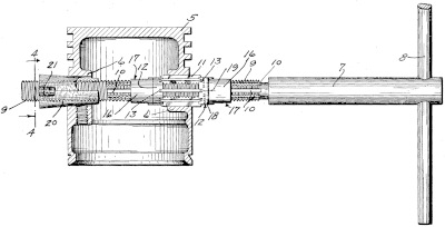
US Patent: 1,658,180
Expansion reamer
Patentee:
William Aab (exact or similar names) - New Ulm, MN

USPTO Classifications:
408/167

Tool Categories:
metalworking machines : drilling and boring : drill bits : reamers
trade specific : vehicle repairer : vehicle mechanic : piston and ring maintenance

Assignees:
None

Manufacturer:
New Ulm Mfg. Co. - New Ulm, MN
Truth Tool Co - Mankato, MN

Witnesses:
Unknown

Patent Dates:
Applied: Jun. 29, 1923
Granted: Feb. 07, 1928

Patent Pictures:
USPTO (New site tip)
Google Patents
Report data errors or omissions to steward Jeff Joslin
Description:
This reamer is primarily intended for reaming connecting rods and crank-pin seats. A 1926-02-11 Motor Age article shows the Aabs Perfect expansion reamer made by "New Ulm Co." A 1931 catalog from Truth Tool Co. of Mankato, MN, features this reamer plus an Aabs Connection Rod Reaming Guide. One page for the reamer says "New Ulm Manufacturing Co." (and also says "U. S. Patent No. 648,490", which was actually the application number for this patent); another page just says "Truth Tool Company". The latter company was a substantial manufacturer of tools, including for the automobile repair shop. It is not known whether Truth Tool was the distributor for New Ulm Mfg. Co., or if they were also manufacturing the tool under license from New Ulm Mfg. Co.

Copyright © 2002-2026 - DATAMP