Home| FAQ Search:Advanced|Person|Company| Type|Class Login
Quick search:
Patent number:
Patent Date:
first    back  next  last
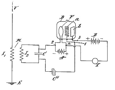
US Patent: 879,532
Space Telegraphy
Patentee:
Lee De Forest (exact or similar names) - New York, NY

USPTO Classifications:
313/293, 315/355, 329/368, 336/220

Tool Categories:
electrical devices : electronic circuitry and apparatus

Assignees:
De Forest Radio Telephone Co. - New York, NY

Manufacturer:
De Forest Radio Telephone Co - New York, NY

Witnesses:
Thomas I. Gallagher
Hans W. Goetze
E. B. Tomlinson
Patrick J. Conroy

Patent Dates:
Applied: Jan. 29, 1907
Granted: Feb. 18, 1908

Patent Pictures: [ 1 | 2 ]
USPTO (New site tip)
Google Patents
Report data errors or omissions to steward Joel Havens
Description:
This was the first patent for a Electronic Vacuum Tube.

Abstract:

My invention will be described with reference to the drawings which accompany and form a part of the present specification, although it is to be understood that many modifications may be made in the apparatus and systems herein described without departing from the principles of my invention.

Claim:

An oscillation detector comprising an evacuated vessel, an electrode enclosed there-in, means for heating said electrode, a second electrode enclosed within said vessel, a local circuit having its terminals electrically connected to said electrodes, a conducting member enclosed within. said vessel and located between said electrodes, and means for conveying the oscillations to be detected to the first mentioned electrode and said conducting member.

Copyright © 2002-2025 - DATAMP