Home| FAQ Search:Advanced|Person|Company| Type|Class Login
Quick search:
Patent number:
Patent Date:
first    back  next  last
US Patent: 3,286,598
Duplicating Milling Machine
Patentee:
Johann Müller (exact or similar names) - Munich, Munich District, Bavaria, Germany

USPTO Classifications:
409/91

Tool Categories:
metalworking machines : milling machines : copy milling machines

Assignees:
Hans Deckel - Munich, Munich District, Bavaria, Germany
Friedrich Wilhelm Deckel - Zug, Zug Canton, Switzerland

Manufacturer:
Friedrich Deckel Praezisions Mechanik und Maschinenbau - Munich, Munich District, Bavaria, Germany

Witnesses:
none listed

Patent Dates:
Applied: Oct. 19, 1964
Granted: Nov. 22, 1966

Patent Pictures: [ 1 | 2 | 3 ]
USPTO (New site tip)
Google Patents
Report data errors or omissions to steward Joel Havens
"Vintage Machinery" entry for Friedrich Deckel GmbH
Description:
Claims priority in Germany, 15 Nov 1963.

Abstract:

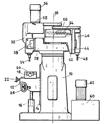
This invention relates broadly to a duplicating milling machine having a workpiece and model table adapted for movement in three coordinate directions and more particularly to such a duplicating milling machine having a spindle turret, carrying machining tools at opposite ends, mounted on the upper side of the machine standard for pivotal movement about a vertical axis. By turning the spindle turret of such a machine, one or the other of the machining tools is brought into operating position over the workpiece and model table.

Claim:

A duplicating milling machine comprising, a machine standard having an upper surface and a vertical axis, a table adapted for movement in three coordinate directions and adapted to hold a workpiece and model operatively connected to said machine standard, a turret portion connected to the upper surface of said machine standard for pivotal movement about the vertical axis thereof, first and second machine tool means connected at opposite ends of said turret portion in operative relation to said table, said first machine tool means including a roughing spindle, a hydraulic feeler connected adjacent said roughing spindle, hydraulic control means connected to said table and said hydraulic feeler whereby said hydraulic feeler is connected to selectively move said table through said hydraulic control means in three coordinate directions relative to said roughing spindle, said second machine tool means comprising a precision duplicating tool connected for movement in three coordinate directions relative to a fixed position of said table, guide means connected to said precision duplicating tool for moving said precision duplicating tool by hand and said turret portion being pivotal from a first position to a second position to successively dispose said first and second machine tool means in operative position above said table.

Copyright © 2002-2025 - DATAMP