Home| FAQ Search:Advanced|Person|Company| Type|Class Login
Quick search:
Patent number:
Patent Date:
first    back  next  last
US Patent: 3,581,354
Instrument Clamp
Patentee:
Charles A. Usiskin (exact or similar names) - Chicago, Cook County, IL

USPTO Classifications:
24/569, 248/122.1

Tool Categories:
metalworking tools : machinist tools : measuring tools : dial indicator attachments

Assignees:
Enco Mfg. Co. - Chicago, Cook County, IL

Manufacturer:
Enco Mfg. Co. - Chicago, Cook County, IL

Witnesses:
none listed

Patent Dates:
Applied: Sep. 16, 1969
Granted: Jun. 01, 1971

Patent Pictures:
USPTO (New site tip)
Google Patents
Report data errors or omissions to steward Joel Havens
"Vintage Machinery" entry for Enco Mfg. Co.
Description:
Abstract:

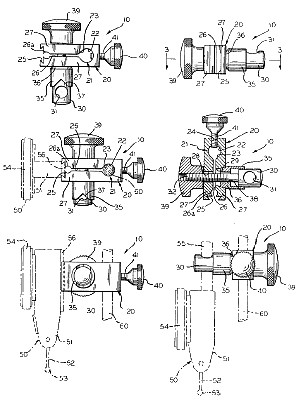
Test indicators are used for various purposes such as measuring the flatness of a surface. In order to make such a measurement, the indicator is mounted on a stand that carries an upstanding support rod. The mounting of the test indicator which may have any one of a number of types and sizes of mounting means, is effected by the use of an instrument clamp. For example, the test indicator may include a projecting round post having one of a variety of diameters and/or a dovetail-shaped tenon. Also, the upstanding rod carried by a stand used to support the test indicator may have any one of a number of diameters.

In the past, mounting clamps that have been available on the market have not been universal in the sense that they could not accommodate all of the various sizes and types of mounting means on the instrument and the various sizes of support rods and types of stands. It is therefore an important object of this invention to provide an instrument clamp that is truly universal, that is, it can be used to mount on a stand a test indicator having a variety of sizes and types of mounting means. Another object in connection with the foregoing object is to provide the clamp with adjustable openings to receive respectively instrument parts and upstanding support rods of various sizes. Yet another object of this invention is to provide an instrument mounting clamp which can he loosened and tightened with ease, yet providing secure connections between the instrument, the clamp and the support rod. With the foregoing and other objects in view which will appear as the description proceeds, the invention consists of certain novel features and construction, arrangement, and a combination of parts hereinafter fully described, illustrated in the accompanying drawings and particularly pointed out in the appended claims, it being understood that various changes in the form, proportions, size and minor details of the structure and the method may be made without departing from the spirit or sacrificing any of the advantages of the invention.

Claim:

An instrument clamp for mounting on a support post an instrument that carries a projecting post, said clamp comprising: a first portion having a first opening therein for selectively receiving one of the posts; a second portion having a second opening therein for selectively receiving the other one of the posts, a third portion having a dovetail-shaped mortise extending therethrough for receiving a dovetail-shaped tenon on the associated instrument, means operatively connected to said portions for adjusting the size of both of said openings by substantial amounts and for adjusting the size of said mortise, whereby said clamp is operative to mount an instrument carrying a post that may have diverse sizes to a support post-that may have diverse sizes.

Copyright © 2002-2025 - DATAMP