Home| FAQ Search:Advanced|Person|Company| Type|Class Login
Quick search:
Patent number:
Patent Date:
first    back  next  last
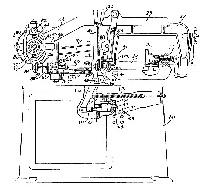
US Patent: 1,909,598
Metal Sawing Machine
Patentees:
John S. Toohey (exact or similar names) - Racine, Racine County, WI
Malcolm E. Erskine (exact or similar names) - Racine, Racine County, WI

USPTO Classifications:
74/424.71, 83/463, 83/62, 83/786

Tool Categories:
metalworking machines : metal sawing machines : power hacksaws

Assignees:
Racine Tool & Machine Co. - Racine, Racine County, WI

Manufacturer:
Not known to have been produced

Witnesses:
none listed

Patent Dates:
Applied: Feb. 06, 1929
Granted: May 16, 1933

Patent Pictures: [ 1 | 2 | 3 | 4 | 5 | 6 | 7 ]
USPTO (New site tip)
Google Patents
Report data errors or omissions to steward Joel Havens
"Vintage Machinery" entry for Racine Tool & Machine Co.
Description:
Abstract:

The object of the invention is to provide a metal sawing machine of the type in which the saw is positively fed into the work during the cutting stroke of the saw and more particularly to improve upon the metal sawing machine of our prior application, Serial No. 132,968, filed September 1, 1926. According to the present invention the use of springs associated with the split nut has been eliminated and the split nut is positively moved into and out of operative position. Further improvements over the aforesaid application are in the arrangement and construction of the clutch control and its association with the manual and automatic control of the saw feeding means.

Claim:

In a metal sawing machine, the combination with a saw and its frame and means for reciprocating the same, of positive feed means for the saw comprising a screw shaft, a split nut on said shaft operatively connected to said saw frame, means for effecting the engagement and disengagement of the sections of said nut comprising a manually-controlled lever and connections between said lever and the sections of said nut, a pivoted latch engageable with said lever for maintaining said lever in nut-engaging position and including an oscillatory shaft provided with spaced arms, a movable member carried by said lever and manually operable independently of the movement of said lever to engage one of said arms to release said latch, and a member movable with the saw frame and engageable with the other of said arms to release said latch when the saw reaches a predetermined position.

Copyright © 2002-2025 - DATAMP