US Patent: 728,893
|
| Saw Filing Machine
|
|
Patentee:
|
|
| John W. Foley (exact or similar names) - Omaha, Douglas County, NE |
| Manufacturer: |
| Not known to have been produced |
|
|
Patent Dates:
|
| Applied: |
Feb. 14, 1903 |
| Granted: |
May 26, 1903 |
|
Patent Pictures:
[
1 | 2
]
|
|
|
USPTO (New site tip) Google Patents
Report data errors or omissions to steward
Joel Havens
|
|
Description: |
| Abstract:
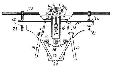
The aim of my invention is to provide a simnple machine adapted to be secured to a suitable tripod, to the upper end of which is Secured a panel supporting a table, which ,able supports a suitable guide-shaft upon which is suitably held a carrier, which carrier in turn receives a vibrating file-holder, to which holder are adjustably secured a plurality of files.
Claim:
A saw-filing machine comprising the combination of the following instrumentalities, to wit: a tripod, a table supported by said tripod, a vise secured to said tripod, vertically adjustable holders secured to said table, a guide-shaft slidably held within said holders, a bottom plate secured to said shaft, roller-holding plate adjustably secured to said bottom-plate, upon opposite sides, rollers within said holding-plates, a plate forming a holder movably supported by said rollers, arms extending from said holder-plate, a block provided with a vertical and horizontal slot, secured to said arms, a screw provided with a file-holding opening laterally, adjustable within said holder-plate, a screw provided with a loose collar secured to said i holder-plate, said collar being provided with a file-holding opening, a strap clamping said block and vertically adjustable thereon, a file-holder secured to said strap, a second strap horizontally adjustable upon said block, a file-holder secured to said last-mentioned strap, and a handle to operate said holder-plate. |
|