Home| FAQ Search:Advanced|Person|Company| Type|Class Login
Quick search:
Patent number:
Patent Date:
first    back  next  last
US Patent: 981,062
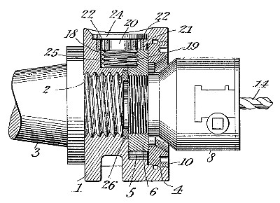
Boring Head
Patentee:
Herman Casler (exact or similar names) - Canastota, Madison County, NY

USPTO Classifications:
279/6, 408/181

Tool Categories:
metalworking machines : drilling and boring : boring heads

Assignees:
None

Manufacturer:
Marvin & Casler Co. - Canastota, Madison County, NY

Witnesses:
Charles W. Jones
Marion J. Shaw
A. E. Mahan
S. S. Dunham

Patent Dates:
Applied: Feb. 04, 1909
Granted: Jan. 10, 1911

Patent Pictures: [ 1 | 2 | 3 ]
USPTO (New site tip)
Google Patents
Report data errors or omissions to steward Joel Havens
"Vintage Machinery" entry for Marvin & Casler Co.
Description:
Abstract:

This invention relates to boring heads for use in connection with machine tools such as lathes, milling machines, drill presses, etc., and has for its chief object to provide a device of the kind mentioned which shall be simple and compact and capable of ready and accurate adjustment, and which shall also be thoroughly protected against the entrance of dirt, chips, and other foreign matter into the adjusting mechanism with consequent derangement or injury of the same.

Claim:

In a boring head, in combination, a body having in its rear an axial socket for attachment to the spindle of a machine tool and in its front a chamber opening into the socket, said body being also provided with a lateral socket, an annular chuck-plate mounted in said chamber and adjustable transversely therein, means mounted in said lateral socket and engaging the chuck-plate to adjust the same, and a ring positioned at the forward end of the said axial socket to prevent the entrance of foreign matter into said lateral socket when the chuck-plate is in an eccentric position, as set forth.

Copyright © 2002-2026 - DATAMP